2020å¹´03æ17æ¥å½å®¶è¯åçç£ç®¡çå±ï¼NMPAï¼è¿ç»åå¸äº6ä¸ªå ³äºå®ä¹è¿æ³¨å°æ¶²ãå«ç£ºèºäºç²å§å¶å¶åãç¾å¸å®ççåç§æ³¨éå ¬åã
æ¬æ¬¡å ¬ååç§æ¶å11个åç§289个æ¹åæå·ï¼å±äºç»å½å®¶è¯åçç£ç®¡çå±ç»ç»è¿è¡äºä¸å¸åè¯ä»·ï¼è®¤ä¸ºé£é©å¤§äºè·çï¼è¦æ±èªå³æ¥èµ·åæ¢ç产éå®ä½¿ç¨ï¼å·²ä¸å¸éå®çåºå¬åã
æ¶åç主è¦åç§ï¼
å®ä¹è¿æ³¨å°æ¶²ãå®ä¹è¿æ°¯ä¸åªæ³¨å°æ¶²ãå°å¿å®ä¹è¿çè æ¶²ãå®ä¹è¿æ»´åãå®ä¹è¿æ»´é¼»æ¶²ãæ»´é¼»ç¨å®ä¹è¿æº¶æ¶²çãå°å¿è§£çæ ã磺èºäºç²å§å¶çã磺èºäºç²å§å¶æ··æ¬æ¶²ãå°å¿å¤æ¹ç£ºèºäºç²å§å¶æ£ãç¾å¸å®çã
å®ä¹è¿ç¸å ³çå¶å
å®ä¹è¿æ¯å¡åé ®ç±»è§£çéçè¯ï¼å¨æå½ä¸å¸æ¶é´è¾æ©ï¼å¶åç§ç±»å æ¬å£æå¶åãæ³¨å°åãæ»´é¼»æ¶²çãéçå»è¯ææ¯åå±ä»¥åä¸è¯ååºçæµå·¥ä½çæ·±å ¥ï¼è¯åå®å ¨é£é©è®¤ç¥å°æ´å å ¨é¢ï¼é£é©è·çæ¯å¯è½åçååãå½å®¶è¯åçç£ç®¡çé¨é¨é«åº¦å ³æ³¨è¯¥ç±»åç§å®å ¨æ§é®é¢ï¼å¼å±äºç¸å ³è¯ä¼°åé£é©è¦ç¤ºå·¥ä½ã
ç»å½å®¶è¯åçç£ç®¡çé¨é¨ç»ç»è¯ä»·ï¼è®¤ä¸ºå®ä¹è¿æ³¨å°æ¶²ãå®ä¹è¿æ°¯ä¸åªæ³¨å°æ¶²ãå°å¿å®ä¹è¿çè æ¶²ãå®ä¹è¿æ»´åãå®ä¹è¿æ»´é¼»æ¶²ãæ»´é¼»ç¨å®ä¹è¿æº¶æ¶²çãå°å¿è§£çæ åå¨ä¸¥éè¿æååºãç²ç»è缺ä¹çç严éä¸è¯ååºï¼é£é©å¤§äºè·çï¼ä¸ä¸´åºåææ¿ä»£è¯åï¼æ ¹æ®ãä¸å人æ°å ±åå½è¯åç®¡çæ³ãç¬¬å «å䏿¡ï¼äºä»¥æ³¨éè¯å注åè¯ä¹¦ã
å®ä¹è¿çç壿å¶åä¿ç
å®ä¹è¿çç壿å¶åå°æä¸å®ä¸´åºä»·å¼ï¼å¯¹å®ä¹è¿çãéæçµçãéæçµè¶åã夿¹éè¿å®ä¹è¿çéå修订说æä¹¦çé£é©æ§å¶æªæ½ï¼å¢å å®å ¨è¦ç¤ºä¿¡æ¯ï¼éå¶éç¨äººç¾¤åéåºçèå´ã
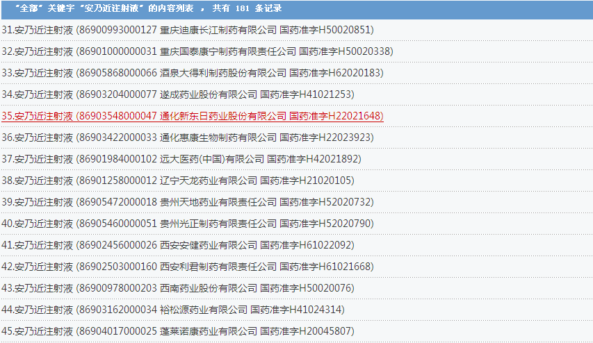
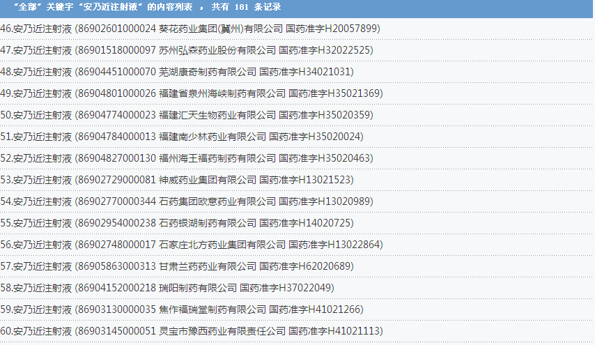
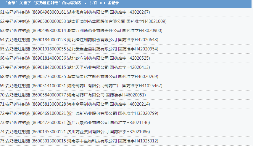
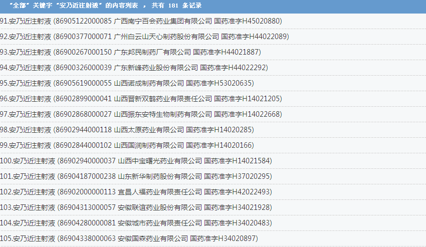
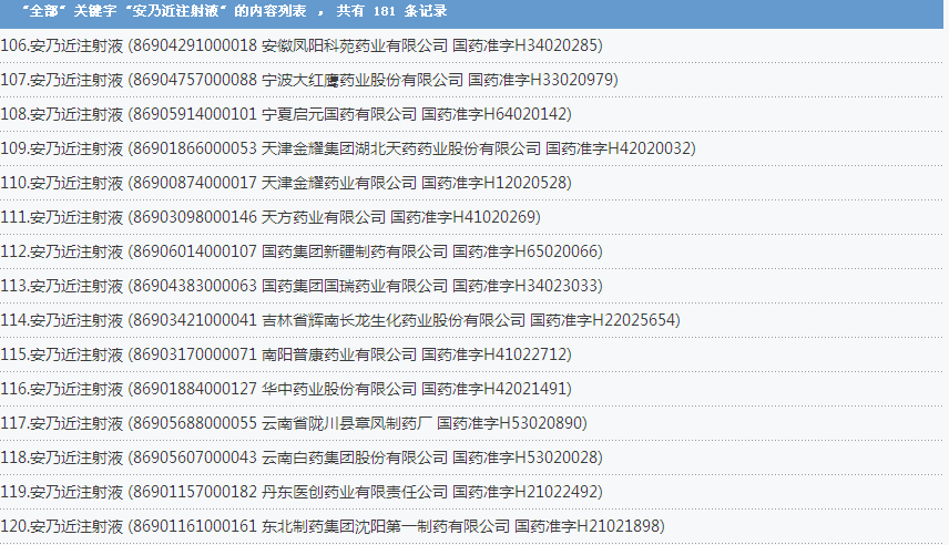
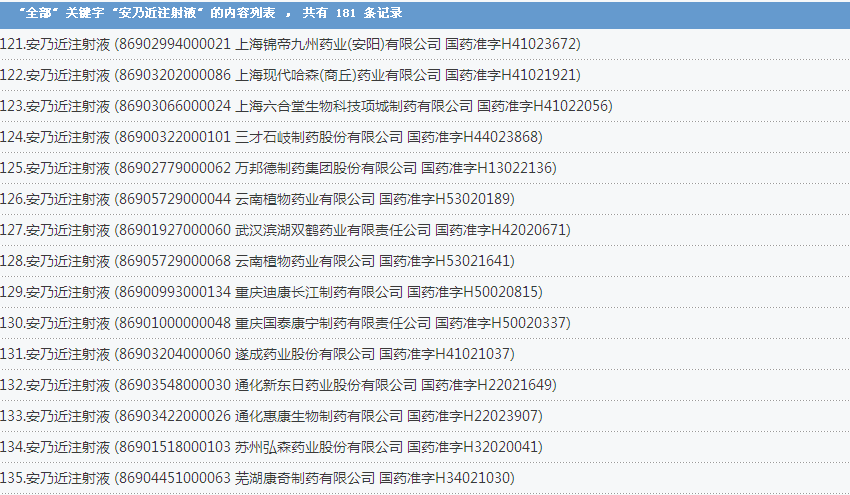
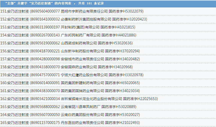
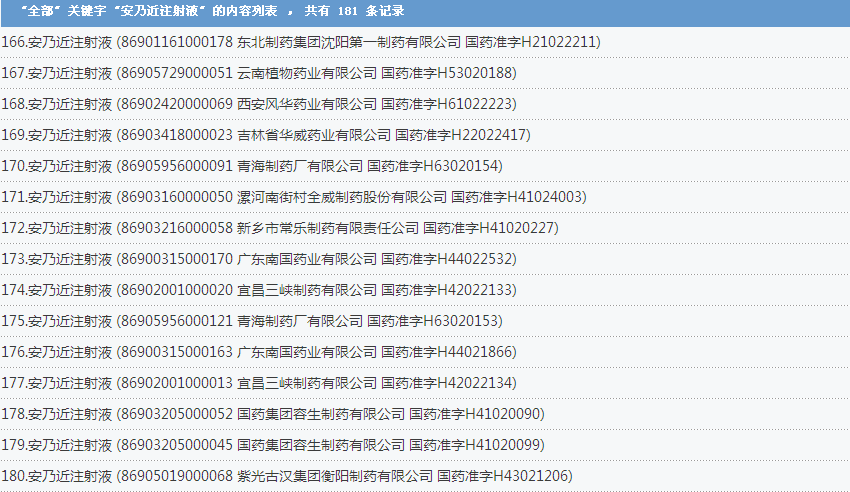
å®ä¹è¿æ³¨å°æ¶²ï¼å½å å ±æ181个æ¹åæå·ï¼æ¶åäºä¸æµ·ä¿¡è°éæ±è¯ä¸æéå ¬å¸ãç¦å»ºå¤ç°è¯ä¸æéå ¬å¸ãæé½ç¬¬ä¸å¶è¯æéå ¬å¸çä¼ä¸ï¼













å®ä¹è¿æ°¯ä¸åªæ³¨å°æ¶²ï¼6个æ¹åæå·

å°å¿å®ä¹è¿çè æ¶²ï¼2个æ¹åæå·

å®ä¹è¿æ»´åï¼1个æ¹åæå·

å®ä¹è¿æ»´é¼»æ¶²ï¼1个æ¹åæå·

æ»´é¼»ç¨å®ä¹è¿æº¶æ¶²çï¼1个æ¹åæå·

å°å¿è§£çæ ï¼3个æ¹åæå·

å«ç£ºèºäºç²å§å¶çå¶å
å½å®¶è¯åçç£ç®¡çå±ç»ç»å¯¹å«ç£ºèºäºç²å§å¶å¶åè¿è¡äºä¸å¸åè¯ä»·ï¼è¯ä»·è®¤ä¸ºå«ç£ºèºäºç²å§å¶å¶ååå¨ä¸¥éä¸è¯ååºï¼å¨æå½ä½¿ç¨é£é©å¤§äºè·çï¼å³å®èªå³æ¥èµ·åæ¢å«ç£ºèºäºç²å§å¶å¶å卿å½çç产ãéå®å使ç¨ï¼æ³¨éè¯å注åè¯ä¹¦ï¼è¯åæ¹åæå·ï¼ãå·²ä¸å¸éå®çå«ç£ºèºäºç²å§å¶å¶åç±ç产ä¼ä¸è´è´£å¬åï¼å¬å产åç±ä¼ä¸æå¨å°è¯åçç£ç®¡çé¨é¨çç£éæ¯ã
å«ç£ºèºäºç²å§å¶å¶åæ¯ç£ºèºç±»æææè¯,卿å½ä¸å¸çåç§æç£ºèºäºç²å§å¶çã磺èºäºç²å§å¶æ··æ¬æ¶²ãå°å¿å¤æ¹ç£ºèºäºç²å§å¶æ£ï¼éåºç为èèççèãèºççè以åæäºé©å °æ°é´æ§æèå¼èµ·çææï¼ä¸¥éä¸è¯ååºä¸»è¦æ¶åç®è¤åè¡æ¶²ç³»ç»ã
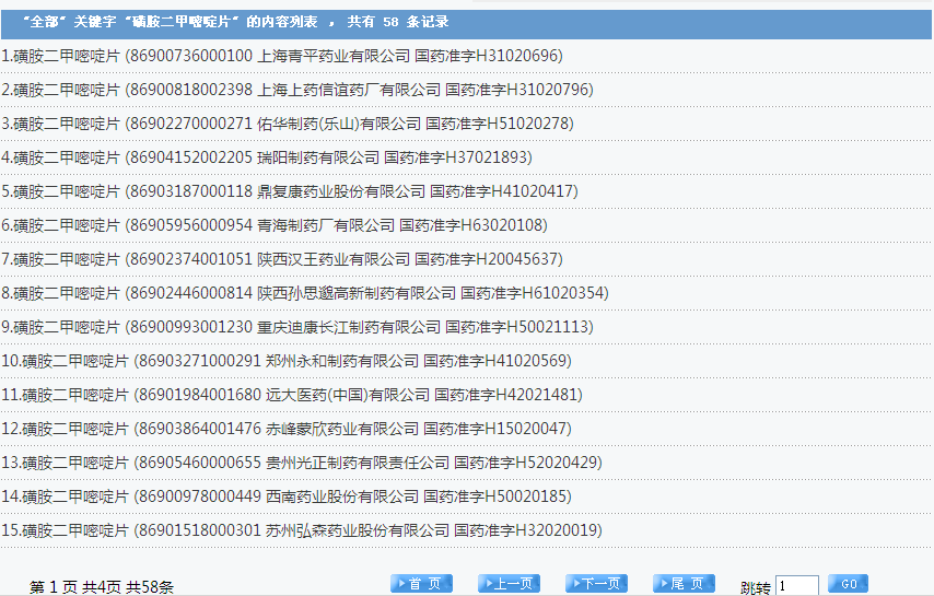
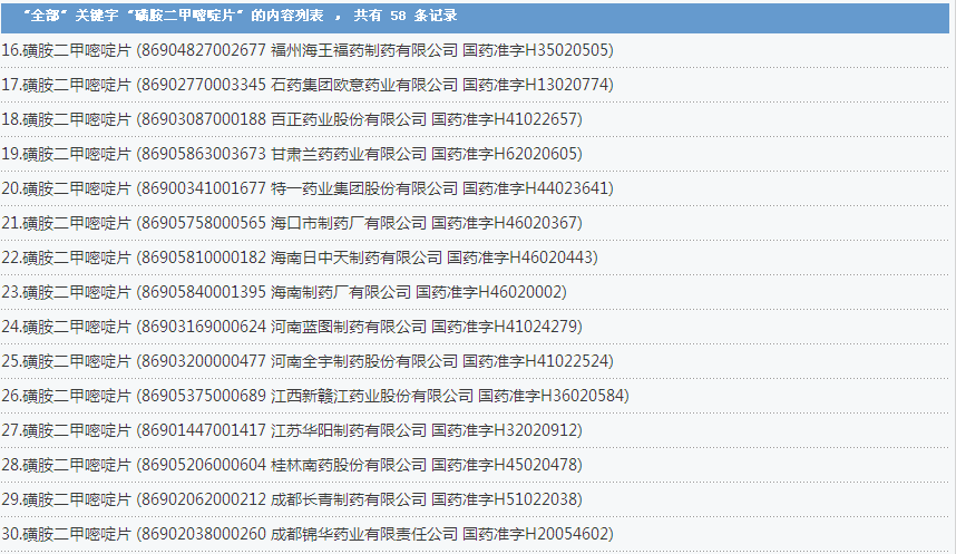
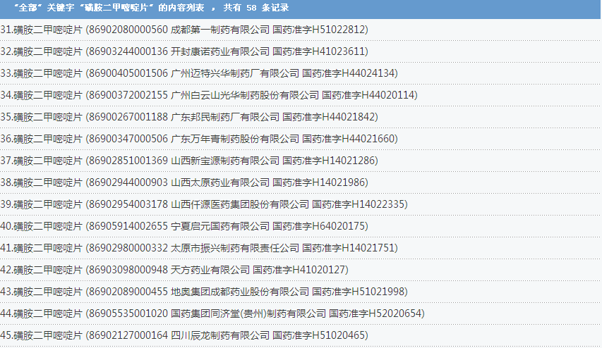
磺èºäºç²å§å¶çï¼58个æ¹åæå·




磺èºäºç²å§å¶æ··æ¬æ¶²ï¼4个æ¹åæå·

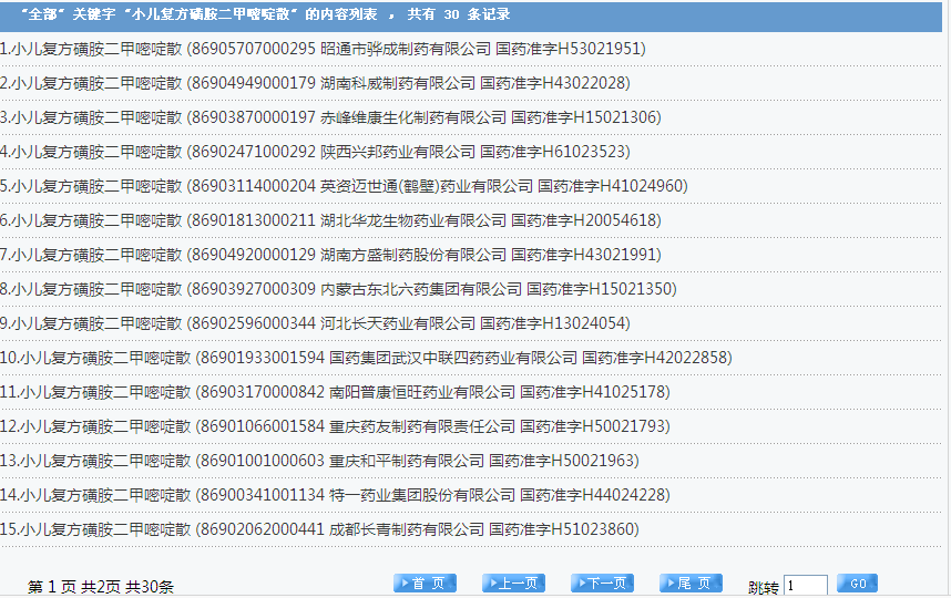
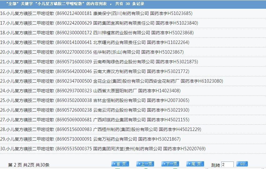
å°å¿å¤æ¹ç£ºèºäºç²å§å¶æ£ï¼30个æ¹åæå·ï¼


ç¾å¸å®ç
å½å®¶è¯åçç£ç®¡çå±ç»ç»å¯¹ç¾å¸å®çè¿è¡äºä¸å¸åè¯ä»·ï¼è¯ä»·è®¤ä¸ºç¾å¸å®çåå¨ä¸¥éä¸è¯ååºï¼å¨æå½ä½¿ç¨é£é©å¤§äºè·çï¼å³å®èªå³æ¥èµ·åæ¢ç¾å¸å®ç卿å½çç产ãéå®å使ç¨ï¼æ³¨éè¯å注åè¯ä¹¦ï¼è¯åæ¹åæå·ï¼ãå·²ä¸å¸éå®çç¾å¸å®çç±ç产ä¼ä¸è´è´£å¬åï¼å¬å产åç±ä¼ä¸æå¨å°è¯åçç£ç®¡çé¨é¨çç£éæ¯ã
ç¾å¸å®ç为解çéçæçè¯ï¼éåºçä¸ºé£æ¹¿æ§ãç±»é£æ¹¿æ§å ³èçåçé£ï¼ä¸¥éä¸è¯ååºä¸»è¦æ¶åè¡æ¶²ç³»ç»ã
ç¾å¸å®çï¼

å¨çº¿åå
éç¥äº¬ä¸å è¡æ¢ç滴丸
ç¾å©é禾åº
æ®å®åº·å®£èºæ¢å½åå
æé³åå
æé³